邮储银行被罚没511万

小百
小百
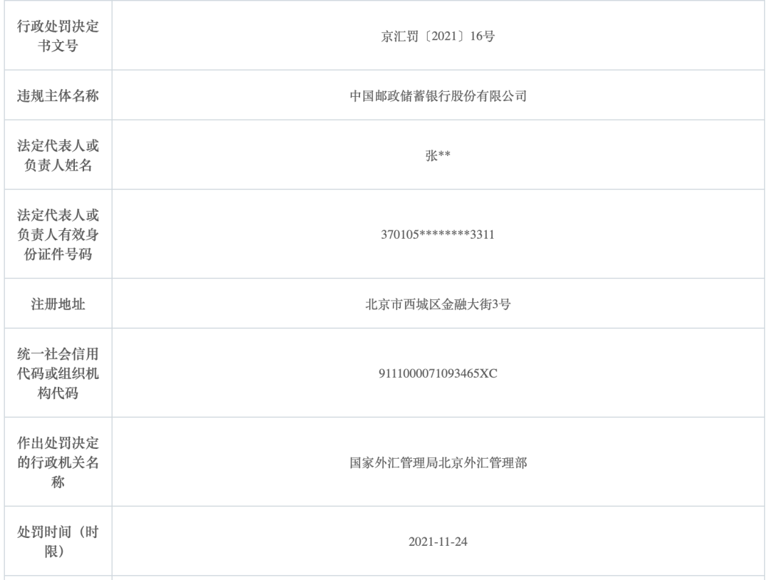
近日,国家外汇管理局北京外汇管理部对邮储银行开出一张罚单,邮储银行因存在多项违规行为被处以警告,并没收违法所得673625....
这家无卡支付平台涉嫌传销

小百
小百
从云付开始无卡支付受到了广泛追捧,然而在监管的严打之下,靠“代理+无限裂变”模式的同类产品,已经宣告凉凉。撰文 |&n...