信用卡虚假交易23亿被判刑

小百
小百
随着央行发文加强对一机多户、一机多码POS机的监管,线上套现看到了黎明的曙光,在诸多线上渠道交易量大增的同时,也有无证支...
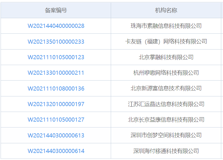
9家机构通过聚合支付备案

小百
小百
近日,中国支付清算协会更新通过备案的收单外包服务机构名单,聚合支付服务方面,新增9家聚合支付技术服务类型机构。此前,包...