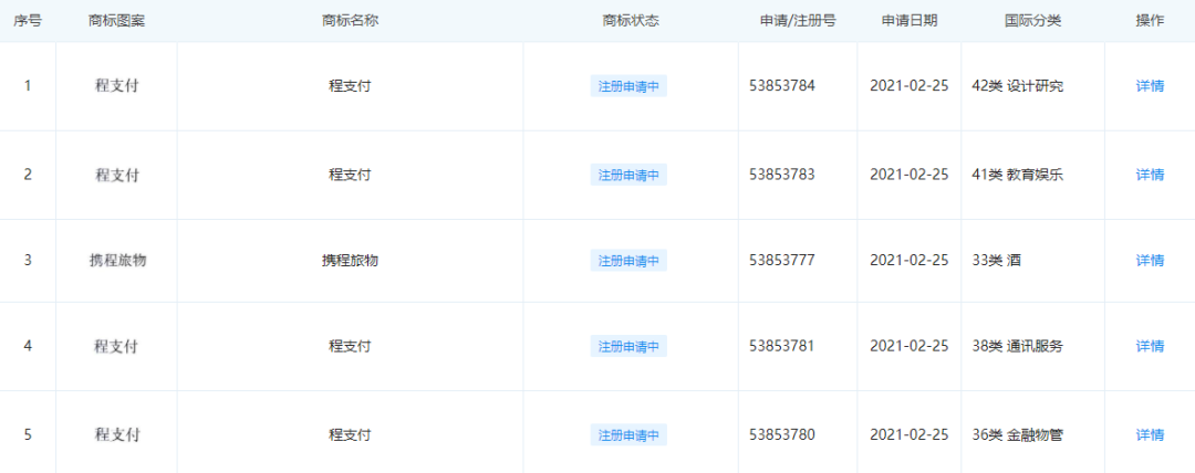
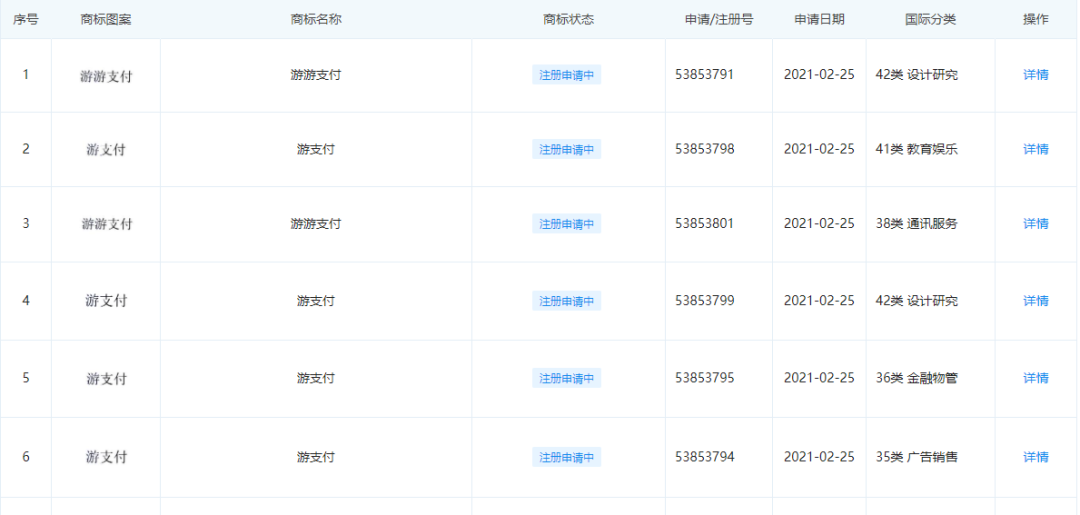
携程申请多个支付商标 小百 • 2021-03-05 支付图文 日前,携程金融科技(上海)有限公司新增“游支付”、“游游支付”商标申请信息,国际分类涉及通讯服务、金融无关、教育娱乐等。 同日,上海携程商务有限公司新增“程支付”商标申请信息,国际分类涉及近日物管、科学仪器等。 合作/客服微信:baike2999 ▼进群加微信:baike2888 点击下方卡片关注支付百科 编辑:小百,转载请注明出处:https://www.paybaike.com/?p=3574 0 扫一扫,分享到微信 猜你喜欢 未央今日播报:“固收+”基金迎监管新规范 支付宝公布小微商家降费进展 金融数字化转型案例:基于可信执行环境的移动支付创新应用 未央今日播报:三部门发文规范网络直播营利行为 淘宝App内测微信支付