最新!银联公布280款过检POS名单


日前中国银联官网更新了“通过银联卡受理终端安全认证的产品列表”。

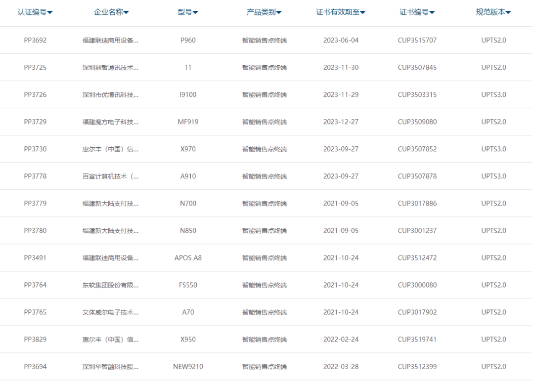
截止到2021年9月9日,共有280款银联卡受理终端产品通过认证且证书在有效期内,其中包括人脸识别终端37款,51款智能销售点终端,79款销售点POS终端,50款云闪付终端,20款mPOS终端2款新型终端等。


20款mPOS




51款智能POS



50款云闪付受理终端


37款人脸识别终端


合作/客服微信:baike2999

▼进群加微信:baike2777

点击下方卡片关注支付百科

编辑:小百,转载请注明出处:https://www.paybaike.com/?p=5180

0

扫一扫,分享到微信

猜你喜欢

上一篇

科技赋能金融 付临门“支付+”增值实力凸显

下一篇

银保监会批复筹建国民养老保险公司,注册资本为111.5亿

微信公众号

微信公众号