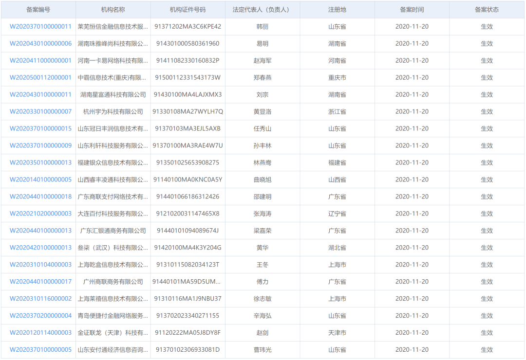
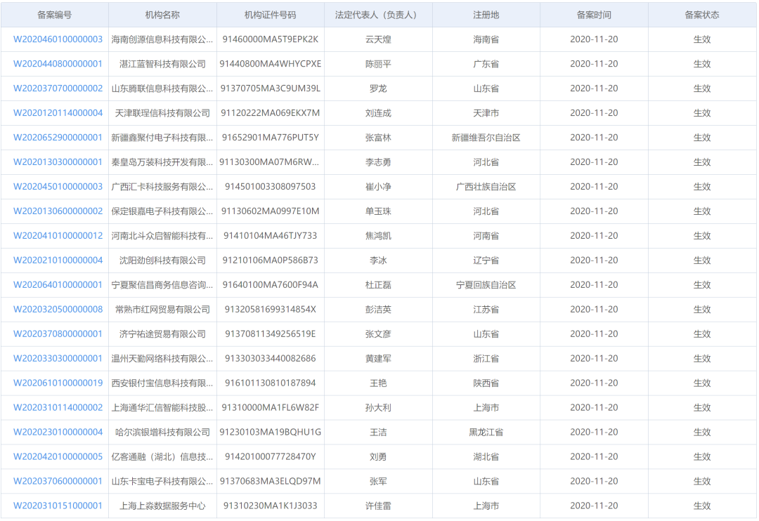
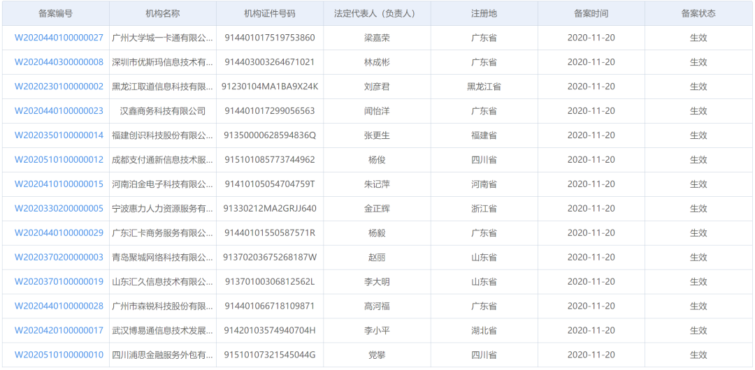
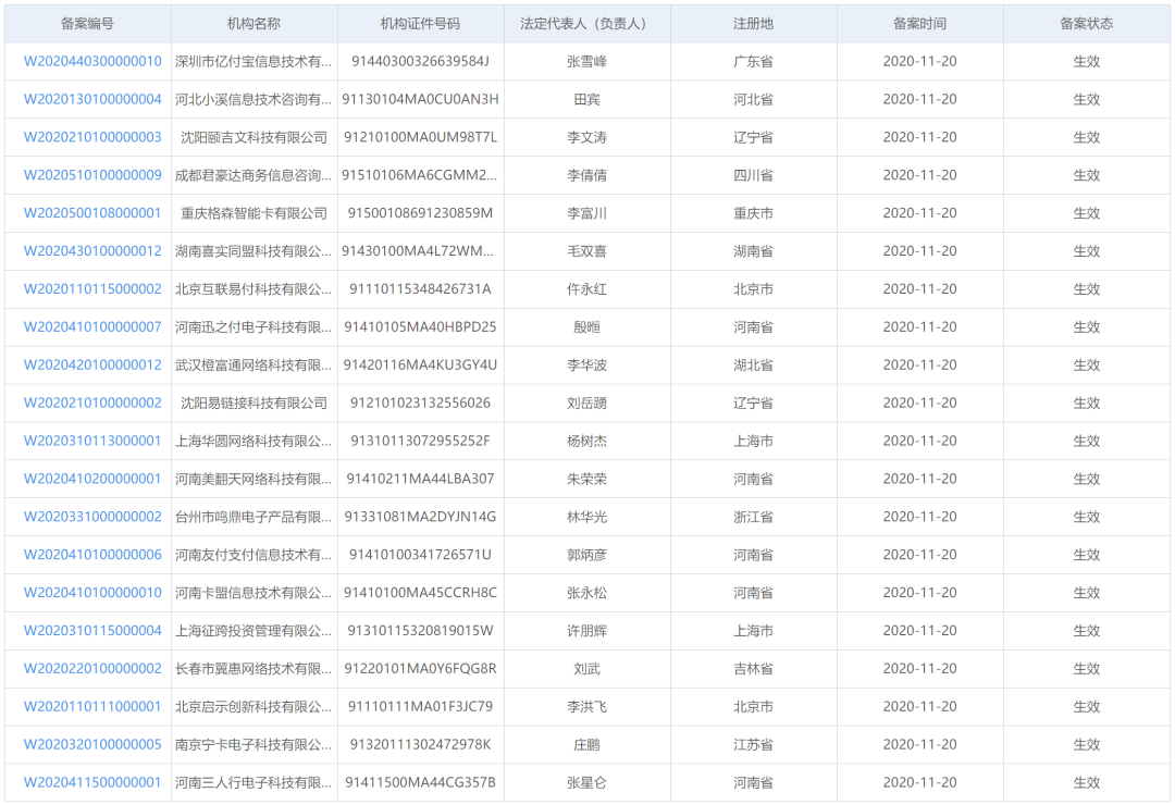
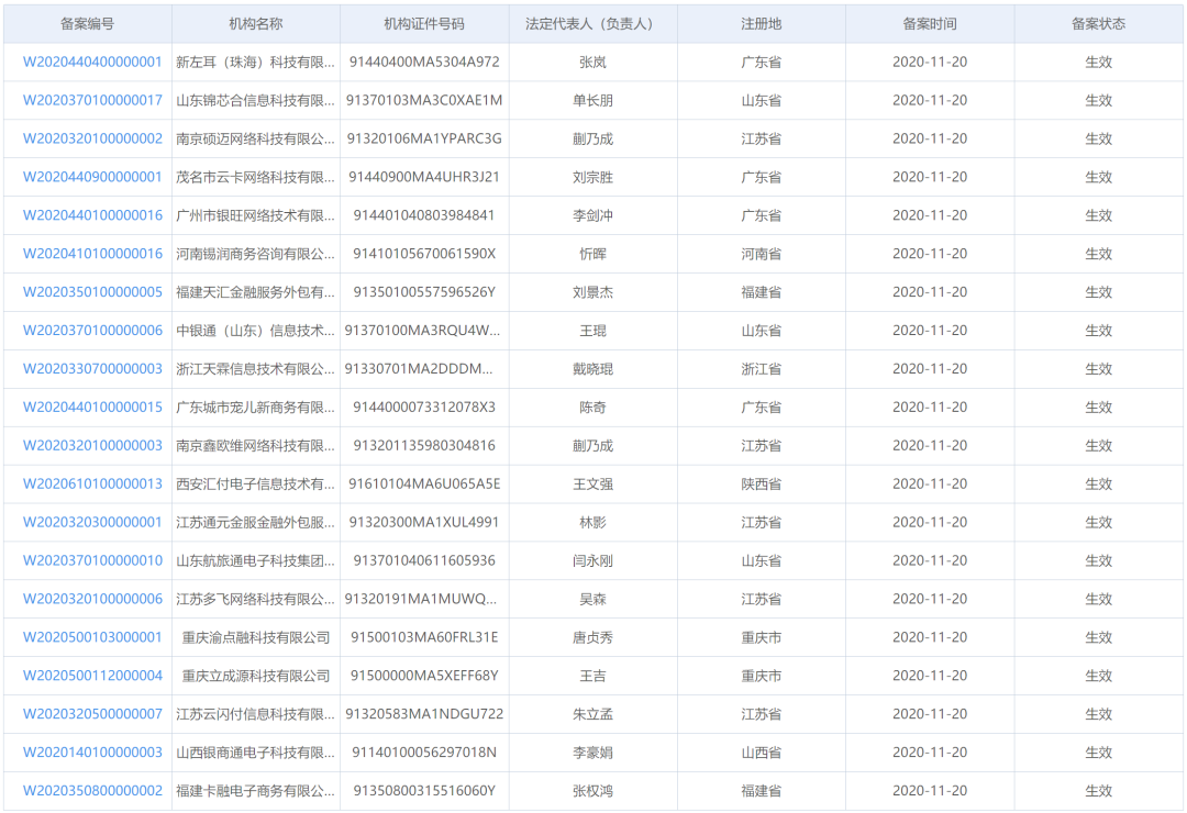
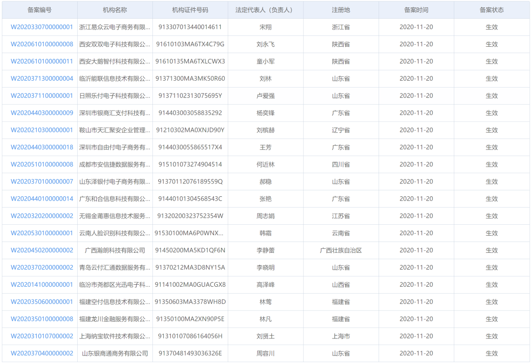
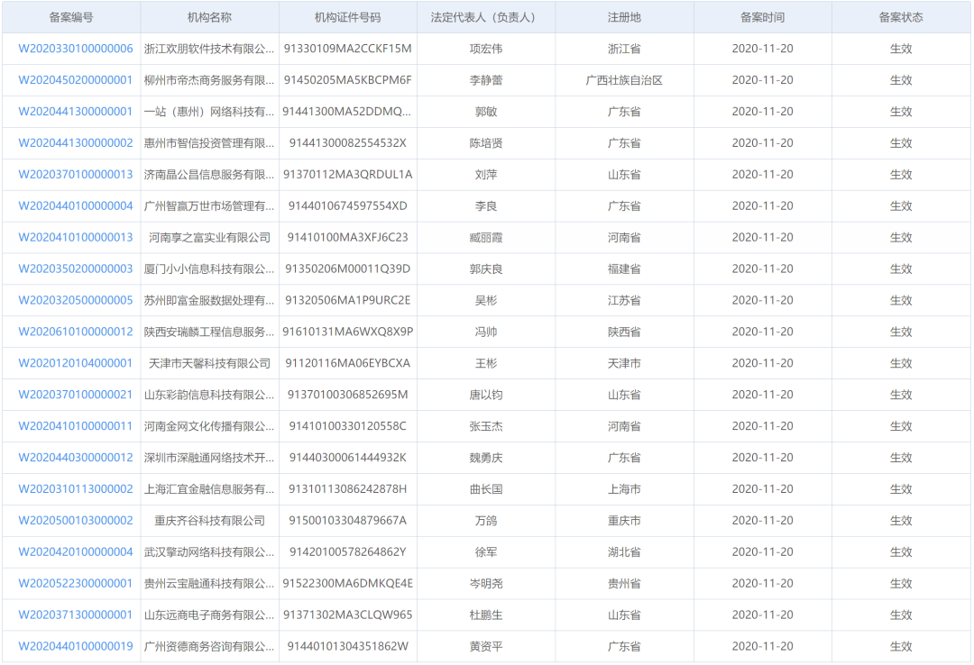
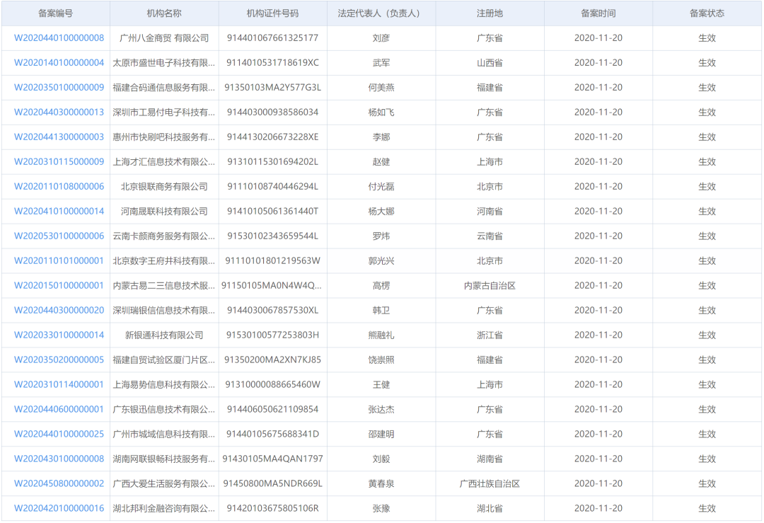
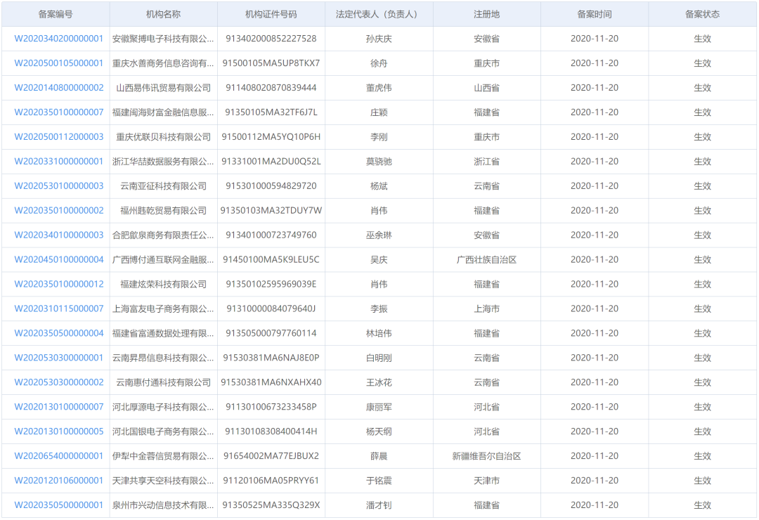
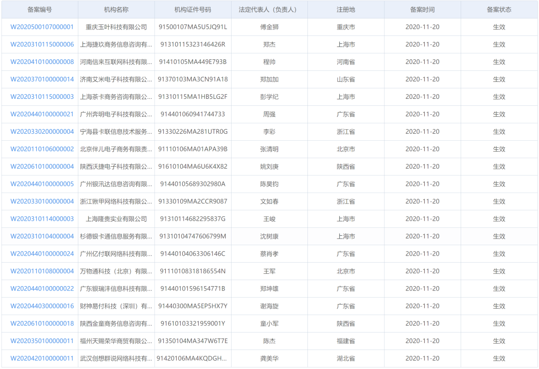
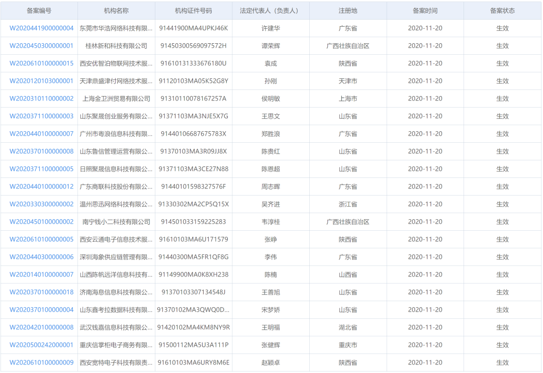
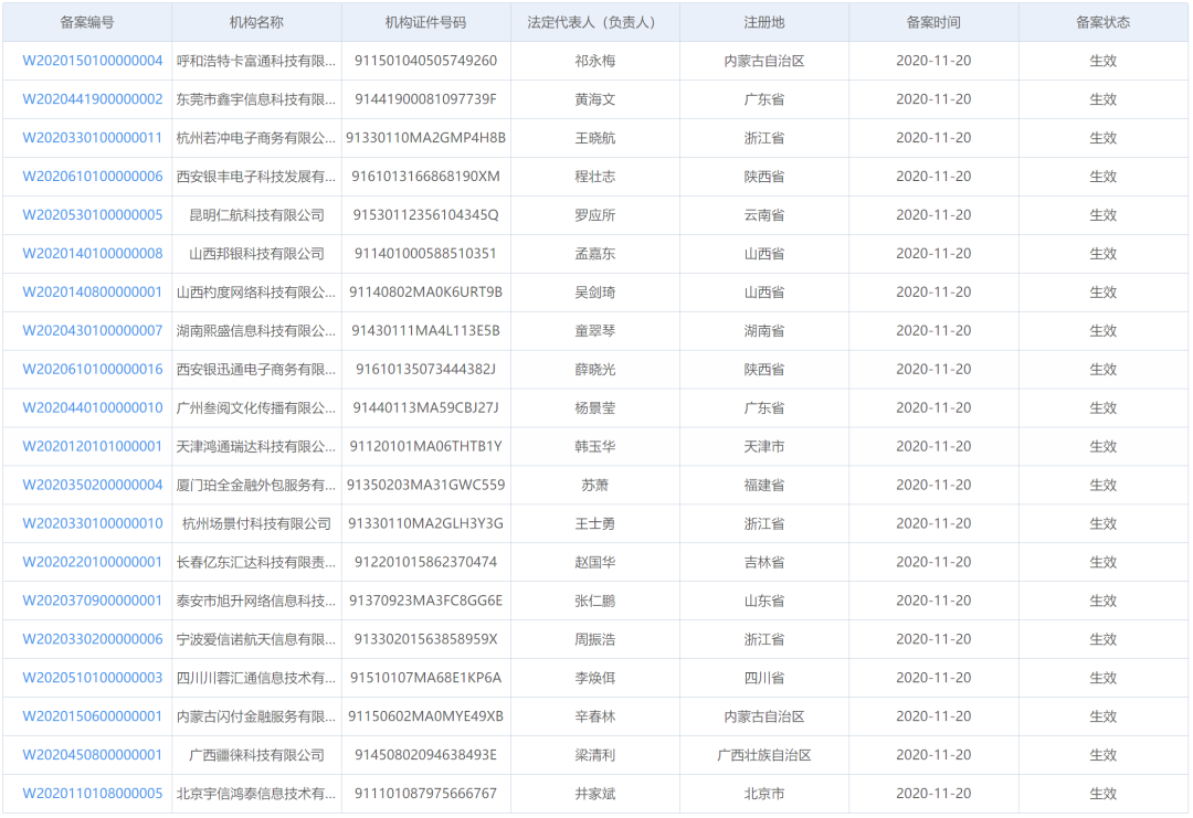
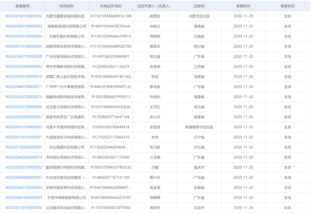
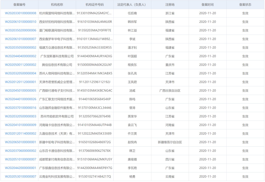
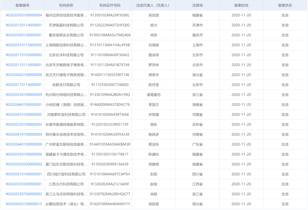
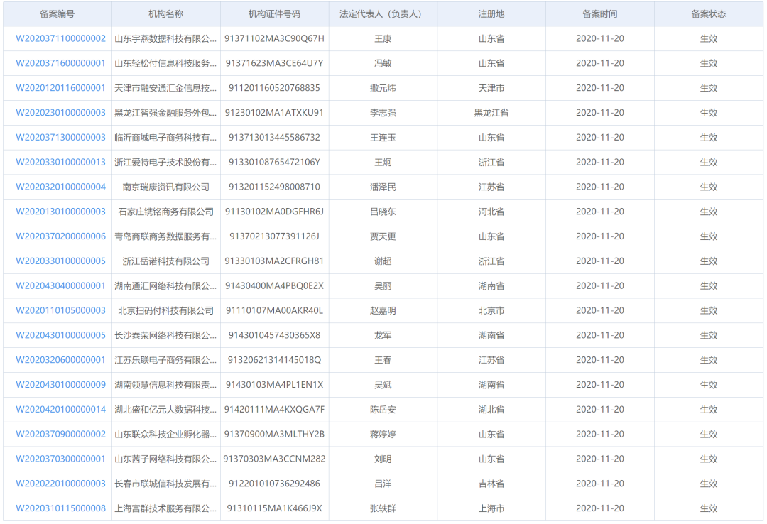
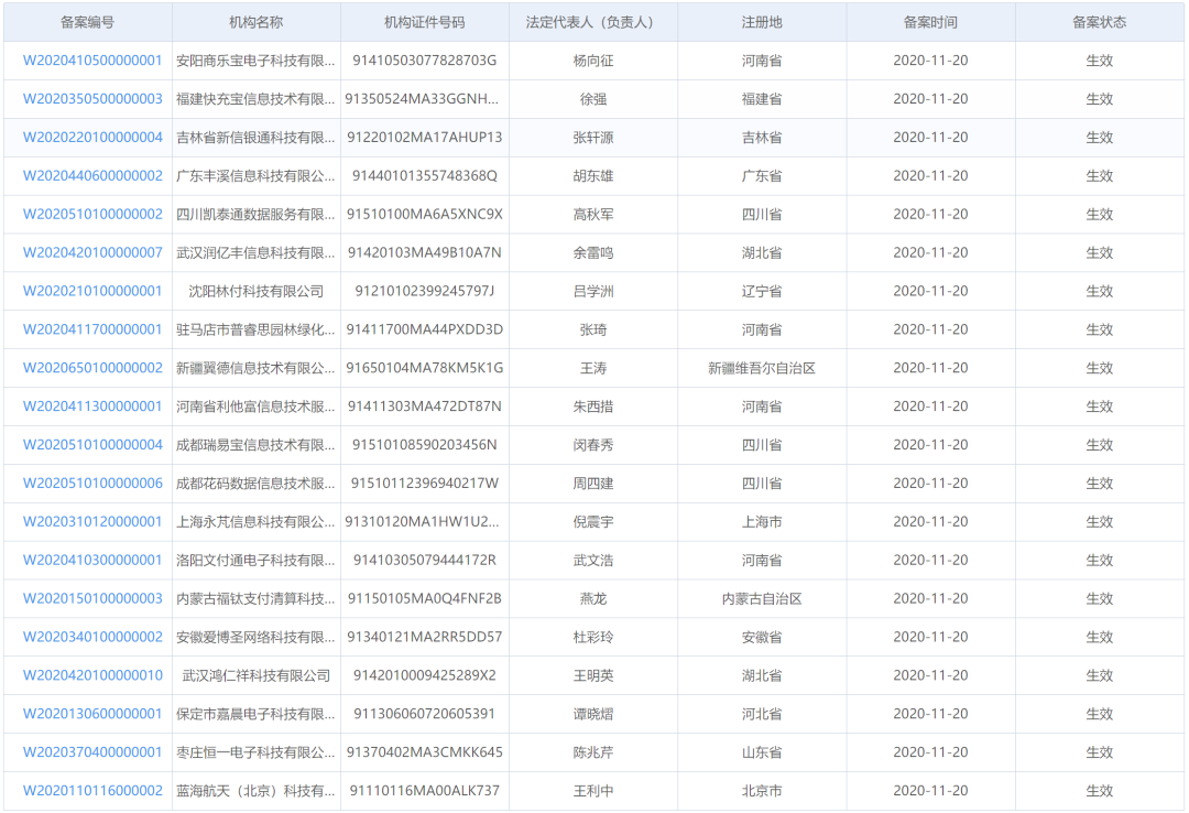
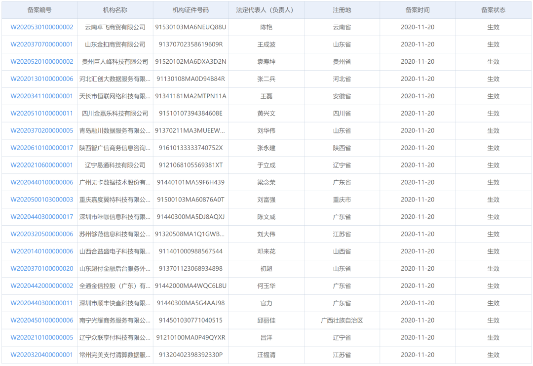
第二批374家机构完成收单外包服务机构备案 小百 • 2020-11-23 支付图文 近日,中国支付清算协会公布第二批通过备案的收单外包服务机构名单,有374家机构成功通过备案。 今年9月份中国支付清算协会举办了收单外包服务机构备案系统上线启动会,正式启动收单外包服务机构备案系统,同时发布银商、拉卡拉、通联、收钱吧、利楚等首批60家备案成功机构名单。 合作/客服QQ:9819315 ▼进群加微信:baike2888 编辑:小百,转载请注明出处:https://www.paybaike.com/?p=3043 0 扫一扫,分享到微信 猜你喜欢 未央今日播报:“固收+”基金迎监管新规范 支付宝公布小微商家降费进展 支付宝、微信、百度的小程序新逻辑 金融数字化转型案例:基于可信执行环境的移动支付创新应用